KIA Semicon Tech KNF12N65 for sale
KIA Semicon Tech KNF12N65 for sale
KIA Semicon Tech KNF12N65 for sale
KIA Semicon Tech KNF12N65 for sale

KIA Semicon Tech KNF12N65

Manufacturer: KIA Semicon Tech Asian Brands
Mfr. Part #: KNF12N65
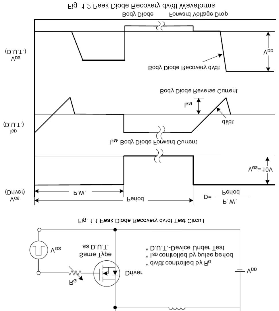
Package: TO-220F
Customer #:
Key Attributes: MOSFET 650V 12A TO-220F
Description: 650V 12A 600mΩ@10V 4V 73W TO-220F Single FETs, MOSFETs RoHS
Products Specifications
Manufacturer:
Package:
TO-220F
Drain to Source Voltage:
650V
Current - Continuous Drain(Id):
12A
RDS(on):
600mΩ@10V
Gate Threshold Voltage (Vgs(th)):
4V
Reverse Transfer Capacitance (Crss@Vds):
30pF
Pd - Power Dissipation:
73W
Output Capacitance(Coss):
140pF
Input Capacitance(Ciss):
1.8nF
Gate Charge(Qg):
50nC@10V

Additional Information

Type Details
Minimum 5
Multiple 5
Standard Packaging 1000
Sales Unit Piece

Compliance & Export Codes

Type Details
RoHS
ECCN -
CNHTS 8541290000
USHTS 8541290095
TARIC 8541290000
CAHTS 8541290000
BRHTS 85412910
INHTS 85412900
MXHTS 8541.29.99

About Product

KIA Semicon Tech KNF12N65 KIA Semicon Tech KNF12N65 KIA Semicon Tech KNF12N65 KIA Semicon Tech KNF12N65 KIA Semicon Tech KNF12N65 KIA Semicon Tech KNF12N65 KIA Semicon Tech KNF12N65 KIA Semicon Tech KNF12N65 KIA Semicon Tech KNF12N65
Get Best Price
svg
Inquiry
Negotiate
Payment
Shipping
KIA Semicon Tech
260 Products
Authorised Brand Asian Brand
Guangdong KIA Semiconductor Technology Co., Ltd. (hereinafter referred to as "KIA" or "KIA Semicon Tech") is a national high-tech enterprise specializing in the development and design of medium/high power MOSFETs, fast recovery diodes, and three-terminal voltage regulators, integrating R&D, production and sales. The company's main products include SiC diodes, MOSFETs, super junction MOSFETs, etc., covering four major areas: industry, new energy, transportation, and green lighting. KIA focuses on product refinement and innovation, and strives to provide customers with the most industry-leading and high-quality technology products.